Vacuums R Us & Sewing Too provides vacuum cleaner and carpet cleaner parts and accessories for vacuum cleaner repair purposes. We are committed to delivering high-quality components, but it is important to note that all appliance repairs involve risks, and we cannot guarantee the outcome of your repair. When using our vacuum parts for repairs, you accept the terms and conditions HERE
Parts for: S9020A
Popular Supplies
$40.71Add to cart

| # | Part image | Description | SKU | Price |
| xx | ![]() | Eureka Sanitaire Upright Type Z Paper Bags 3PK # 310SW | 836301003101 | $7.64Add to cart |
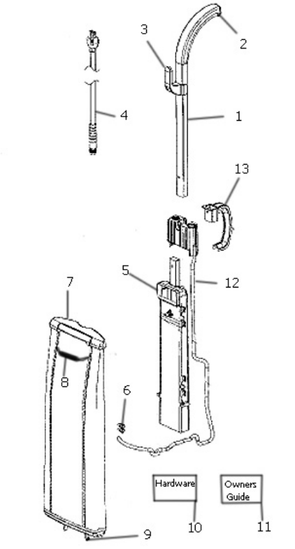
| 01 | Not Available | Sanitaire Upper Handle Assembly | 78382-1SV | Not Available |
| 02 | Not Available | Sanitaire Grip - Handle | 78753-380N | Not Available |
| 03 | Not Available | Sanitaire Cord Hook | 79924-355N | Not Available |
| 04 | Not Available | Sanitaire Switch Box Assembly | 80720 | Not Available |
| 05 | Not Available | Sanitaire Tube - Handle (Lower) | 78385A-355N | Not Available |
| 06 | Not Available | Sanitaire Wire Splice 5 | 53214-2 | Not Available |
| 07 | Not Available | Sanitaire Zipper Bag Assy - Package | 53469-26 | Not Available |
| 08 | Not Available | Sanitaire Grip & Chain Assembly | 79584SV | Not Available |
| 09 | Not Available | Sanitaire Retainer - Bag | 78394-355N | Not Available |
| 10 | Not Available | Sanitaire Hardware Package | 80213SV | Not Available |
| 11 | Not Available | Sanitaire Owners Guide | 80399 | Not Available |
| 12a | Not Available | Sanitaire Switch Box Assembly | 80720 | Not Available |
| 12b | ![]() | Switch, 15A Rocker Tool On/Off Power Part Number: 76621 for Eureka | 76621 | $3.88Add to cart Product is special order please allow 2-4 weeks for delivery. |
| 13 | No Image | HANDLE, CARRY EP9027A Part Number: 80575-355N for Eureka | 80575355N | $6.25Read more |

| # | Part image | Description | SKU | Price |
| 01 | Not Available | Sanitaire Hood | 78379-372N | Not Available |
| 02 | Not Available | Sanitaire Air Separator Assy | 78375 | Not Available |
| 03 | ![]() | Screw, Clamp SC888E/8284 Express 10Pk Part Number: 5323811 for Eureka | 5323811 | $7.98Read more |
| 04 | ![]() | Screw, Motor Mount Eureka/Sanitaire 10Pk Part Number: 5323814 for Eureka | 5323814 | $4.54Add to cart Product is special order please allow 2-4 weeks for delivery. |
| 05 | ![]() | Motor, Assy S9020A/SC9050A/S635A Part Number: 5334910 for Eureka | 5334910 | $76.63Add to cart Product is special order please allow 2-4 weeks for delivery. |
| 06 | Not Available | Sanitaire Axle - Rear | 78686 | Not Available |
| 07 | No Image | WHEEL, REAR SC9050 Part Number: 78365 for Eureka | 78365 | $18.56Read more |
| 08 | Not Available | Sanitaire Bracket - Wheel | 78685 | Not Available |
| 09 | Not Available | Sanitaire Package - Retaining Ring | 54432-5 | Not Available |
| 10 | ![]() | Gasket, Motor/Base Uprights eureka sanitaire oreck bissell commercial machines | E-30517 | $5.49Add to cart |
| 11 | Not Available | Sanitaire Base Assembly | 78363-1SV | Not Available |
| 12 | ![]() | Cover, Black Pliable Rubber End Cap Part Number: 26059A for Eureka | 26059A | $2.12Add to cart |
| 13 | ![]() | End Cap, W/Bearing For Wood Brushroll Part Number: 38138 for Eureka | 38138 | $12.42Add to cart Product is special order please allow 2-4 weeks for delivery. |
| 14 | ![]() | Brushroll, 12 In 4 Row All Bristle Wood Sc9050 Part Number: 541042 for Eureka | 541042 | $40.71Add to cart Product is special order please allow 2-4 weeks for delivery. |
| 15 | Not Available | Sanitaire Furniture Guard | 78380-355N | Not Available |
| 16 | No Image | Bottom Plate, Assy Commercial Uprt S9020A/SC9050A Part Number: 79487SV for Eureka | 79487SV | $85.93Read more |
| 17 | Not Available | Sanitaire Package - Retaining Ring | 54432-4 | Not Available |
| 18 | Not Available | Sanitaire Front Wheel Assy | 79246-119N | Not Available |
| 19 | Not Available | Sanitaire Axle - Front | 78914 | Not Available |
| 20 | Not Available | Sanitaire Belt Pkg Assy (Upright) | 52100B | Not Available |
| 21 | Not Available | Sanitaire Screw Package | 53238-27 | Not Available |
| 22 | Not Available | Sanitaire Lock - Cam | 26295 | Not Available |
| 23 | ![]() | Screw, Shoulder Adjustment Knob Part Number: 53143 for Eureka | 53143 | $3.95Add to cart Product is special order please allow 2-4 weeks for delivery. |
| 24 | Not Available | Sanitaire Retainer - Handle Release | 81117 | Not Available |
| 25 | Not Available | Sanitaire Axle - Handle Release | 79445 | Not Available |
| 26 | Not Available | Sanitaire Spring | 80911 | Not Available |
| 27 | Not Available | Sanitaire Handle Release Assy | 79489B-1 | Not Available |
| 28 | Not Available | Sanitaire Package - Retaining Ring | 54432-3 | Not Available |
| 29 | Not Available | Sanitaire Bushing - Yoke | 78689-119N | Not Available |
| 30 | Not Available | Sanitaire Axle - Yoke | 78688 | Not Available |
| 31 | Not Available | Sanitaire Yoke & Block Assembly | 81811 | Not Available |
| 31A | Not Available | Sanitaire Yoke Block | 81796A | Not Available |
| 31B | Not Available | Sanitaire Seal - Bag Support | 81595 | Not Available |
| 32 | Not Available | Sanitaire Clamp | 26266-3 | Not Available |
| 33 | ![]() | Bellows - Sanitaire Sc9050A Duralite Commercial
S9020 For: eureka,sanitaire | 78755380N | $15.19Add to cart Product is special order please allow 2-4 weeks for delivery. |
| 34 | Not Available | Sanitaire Washer | 79740 | Not Available |
| 35 | Not Available | Sanitaire Pulley - Motor | 37012-2 | Not Available |
| 36 | ![]() | Fan, Clear Plastic Motor Low Profile SC679J/S635A Part Number: 81092 for Sanitaire | 81092 | $13.37Add to cart |
| 37 | No Image | SPRING, DIRT CUP LATCH Part Number: 38355015 for Hoover | 38355015 | $1.96Read more |
Report errors on this page HERE














